Home
Customized Gasket
Advanced Search
Technical assistance
Commercial Network
Pdf Documentation Download
Reserved Area
Wishlist
Login
Register
Wishlist
WISH LIST
Lista Preferiti
No items in the Favorites List
You have
0
articles
Vai alla Lista Preferiti
Checkout
Lista Preferiti
You have
0
articles
Vai alla Lista Preferiti
Customized Gaskets
Exploded View Request
Advanced Search
Technical Assistance
Commercial Network
Home Page
Catalogo Articoli
SCHEDE ELETTRONICHE
PREPARAZIONE DINAMICA
506
PREPARAZIONE DINAMICA
506
Codice:
506
Aggiungi ai Preferiti
Disponibilità
Aggiorna
5
Disponibilità prevista per il
Consegna prevista entro
0
giorni
dalla data di conferma dell’ordine
Aggiorna
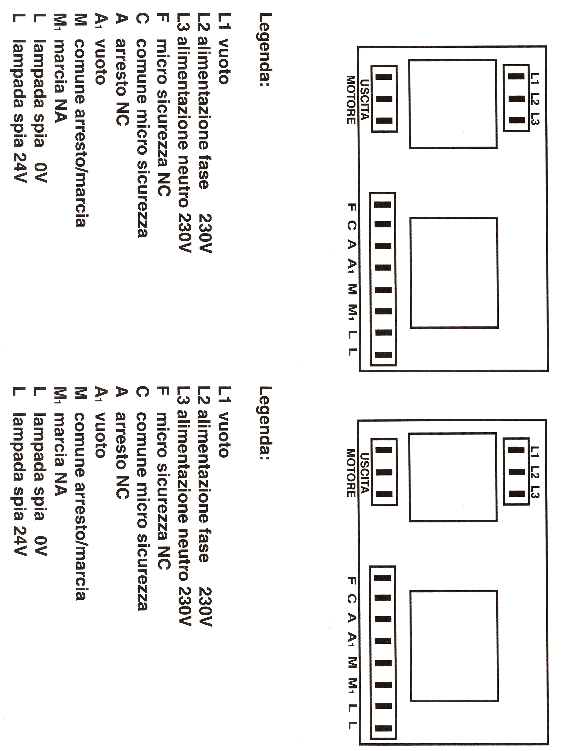
KIT COMPLETO AFFETTATRICE CE 0,75HP 230V.
Note Tecniche:
PORTATA MAX 0,75HP (2)A 230V.
ALIMENTAZIONE 230V. 50/60HZ.
SCATOLA STAGNA IP54
COMANDI IN BASSA TENSIONE 24V.
DIMENSIONI 107 X 107 X 57 MM.
Download Scheda
Compatibile con:
LF 9014019,
GUARDA EVENTUALI ARTICOLI ABBINATI o ALTERNATIVI
Disponibilità
Aggiorna
5
Disponibilità prevista per il
Consegna prevista entro
0
giorni
dalla data di conferma dell’ordine
Aggiorna
Aggiungi ai Preferiti
Non riesci ad identificare il ricambio di cui hai bisogno ??
Contattaci !!!
Aggiungi
Aggiungi
Powered by
Passepartout
Designed by Evridigit
You're confirming the operation?
Il nostro sito utilizza i cookie. Continuando la navigazione sul nostro sito date il consenso per utilizzare i cookie.
Accetto
Informazioni